Envoyez-nous un email

sdepochwater@hotmail.com

Nouvelles

​Les caractéristiques et la classification des vannes


Une vanne à vanne, également connue sous le nom de vanne à vanne, est une vanne dont la partie d'ouverture et de fermeture est une plaque à vanne, et qui est entraînée par une tige de vanne pour déplacer la plaque à vanne de haut en bas.


Les caractéristiques des vannes


1) Avantages des vannes à vanne : Faible résistance à l’écoulement du fluide ; Le couple requis pour l'ouverture et la fermeture est faible. Le sens d'écoulement du fluide est illimité. Il n’y a pas de phénomène de coup de bélier à l’ouverture et à la fermeture. La structure de la forme est relativement simple et le processus de fabrication est meilleur.


2) Inconvénients des robinets-vannes : Ils ont des dimensions extérieures et des hauteurs d'installation relativement grandes et nécessitent un espace d'installation considérable. Lors du processus d'ouverture et de fermeture, il se produit un frottement relatif sur la surface d'étanchéité, entraînant une usure importante. Même à haute température, il est sujet aux rayures. Les robinets-vannes ont généralement deux surfaces d'étanchéité, ce qui ajoute quelques difficultés au traitement, au meulage et à l'entretien.


Les vannes à vanne ont un large éventail d'applications. Il est généralement utilisé pour les conduites d'alimentation en eau d'un diamètre nominal de DN50 ou plus.



Classification des vannes


Les robinets-vannes peuvent être classés selon les méthodes de connexion en robinets-vannes filetés, robinets-vannes à brides et robinets-vannes soudés. Selon les caractéristiques structurelles, ils peuvent être divisés en plaques de portail parallèles et en plaques de portail en coin. En fonction de la structure de la tige de vanne, ils peuvent être classés en vannes à tige distinctes (tige de levage) et vannes à tige dissimulée (tige rotative).




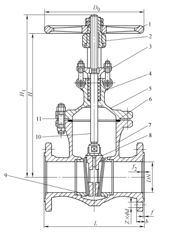
1) Vanne à double vanne parallèle à tige ouverte : La vanne à double vanne parallèle à tige ouverte est illustrée à la figure 1. Sa vanne est composée de deux disques symétriques et parallèles. Lorsque la vanne descend, la cale supérieure placée au bas de la vanne provoque l'expansion des deux vannes vers l'extérieur et une pression serrée contre le siège de la vanne, fermant ainsi la vanne hermétiquement. Lorsque le portail remonte, la cale se désengage du disque. Une fois que le disque atteint une certaine hauteur, la cale est soulevée par les saillies du disque et monte avec le portail. Cette vanne a une structure simple. Le traitement, le meulage et l'entretien de sa surface d'étanchéité sont tous plus simples que ceux du robinet-vanne à coin. Cependant, ses performances d’étanchéité sont relativement médiocres. Il convient aux fluides dont la pression ne dépasse pas 1,0 MPa et la température ne dépasse pas 200 ℃.



Figure 1 : Vanne à double vanne parallèle à tige montante


1. Volant 2- Écrou de tige de vanne 3- Tige de vanne 4 - Presse-étoupe 5 - Garniture 6 - Couvercle de vanne

7 - Joint 8 - Bague d'étanchéité 9- Corps de vanne 10- Vanne 11 - Cale supérieure


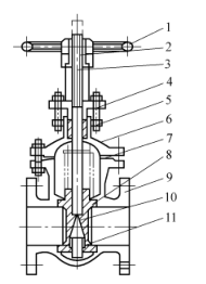
2) Vanne à vanne à coin à tige dissimulée : Comme le montre la figure 2, la surface d'étanchéité de cette vanne est inclinée et forme un angle. Plus la température du milieu est élevée, plus l'angle est grand. Les plaques de portail à coin sont classées en plaques de portail simples, plaques de portail doubles et plaques de portail élastiques, comme le montrent respectivement les figures 2a, b et c. Le traitement, le meulage et l'entretien des plaques de porte en coin sont plus compliqués que ceux des plaques de porte parallèles, mais ils ont de meilleures performances d'étanchéité.


Figure 2 Vanne à guillotine à tige dissimulée


a) Plaque de portail simple à coin b) Plaque de portail double à coin c) Plaque de portail élastique à coin


1. Volant 2. Indicateur 3. Couvercle 4. Presse-étoupe 5. Garniture 6. Couvercle de soupape

7- Tige de vanne 8 - Écrou de tige de vanne 9, 12 - Bague d'étanchéité 10 - Corps de vanne 11 - Plaque d'obturation 13 - Joint


Le robinet-vanne élastique est illustré à la figure 3. Il présente les avantages d'une structure simple et d'une utilisation fiable, et peut produire une petite déformation élastique, ce qui augmente l'étanchéité de la fermeture.



Figure 3 Vanne à vanne élastique


1. Volant 2- écrou de tige de vanne 3 - presse-étoupe 4 - garniture 5 - couvercle de vanne 6 - joint

7- Corps de vanne 8 Plaque d'obturation 9 - Bague d'étanchéité 10 - Tige de vanne 11 - Boulon de connexion


Dans une vanne à tige montante, le filetage de la tige de vanne s'adapte à un écrou-manchon équipé d'un volant. L'extrémité inférieure de la tige de vanne comporte une tête carrée intégrée dans la plaque d'obturation. Lorsque le volant est tourné, la tige de vanne et la plaque d'obturation montent et descendent. Lors de l'ouverture, la tige de la vanne dépasse du volant. L'avantage est que le degré d'ouverture de la vanne peut être jugé à partir de la longueur étendue de la tige de vanne et que la tige de vanne n'entre pas en contact direct avec le fluide transporté. L'inconvénient est que la vanne a une grande hauteur d'ouverture et que le site d'installation doit disposer de suffisamment d'espace pour que la tige de vanne puisse s'étendre vers l'extérieur. Lors de l'installation sur place, veillez à faire attention à ce point. Le filetage externe de la tige de vanne du robinet-vanne à tige dissimulée s'adapte au filetage interne intégré dans la vanne. Par conséquent, lorsque le volant est tourné, la tige de la vanne tourne, provoquant le mouvement de haut en bas de la vanne à l'intérieur de la vanne, mais la tige de vanne ne peut pas monter et descendre. Le robinet-vanne à tige dissimulée prend moins de place lors de l'installation. Le fluide transporté entre en contact direct avec la tige de vanne et le degré d'ouverture de la vanne ne peut pas être jugé à travers la tige de vanne. Qu’il s’agisse d’un robinet-vanne à tige montante ou d’un robinet-vanne à tige non montante, le robinet-vanne doit être installé horizontalement. La tige de valve doit être verticalement vers le haut et non inclinée. Il est strictement interdit d'installer la tige de valve vers le bas.



Actualités connexes
Laissez-moi un message
X
Nous utilisons des cookies pour vous offrir une meilleure expérience de navigation, analyser le trafic du site et personnaliser le contenu. En utilisant ce site, vous acceptez notre utilisation des cookies. politique de confidentialité
Rejeter Accepter